Georgia

Georgia Lottery Validation Codes


Help And Glossary New York Lottery
nylottery.ny.gov

Frequently Asked Questions Arkansas Scholarship Lottery
www.myarkansaslottery.com

Itvm01 Lottery Ticket Terminal User Manual Scientific Games
fccid.io

Help And Glossary New York Lottery
nylottery.ny.gov

Solved Read Read Read Read Read Please Post The Screensho
www.chegg.com

You Cant Cash Out If You Scratch Off The Code Lottery Post
www.lotterypost.com

Bch Where Are My Lottery Winnings Investigations Cbs46 Com
www.cbs46.com

Second Chance
www.igt.com

Https Www Usg Edu Georgia Best User Docs Gamods7 2hopeudocfinal Pdf

Intralot Qr Codes Their Use In The Lottery Industry La
lafleurs.com

Mass Lottery Codes Revealed Lotto Edge
lottoedge.com

Revealed Oregon Lottery Scratch It Codes Lotto Edge
lottoedge.com

Itvm01 Lottery Ticket Terminal User Manual Scientific Games
fccid.io

Nh Lottery Scratch Ticket Codes Exposed Lotto Edge
lottoedge.com

Ohio Lottery S Frequent Winners Grab Top Prizes Amid Improbable
www.cleveland.com

Tn Lottery Scratch Off Codes Exposed Lotto Edge
lottoedge.com

Play Wild Time Lottery
fhoeweseleva.changeip.com

Unclaimed N J Lottery Ticket Worth 1m Expires Soon Nj Com
www.nj.com

Sc Lottery Scratch Off
tealman.ivorygroup.in

Https Encrypted Tbn0 Gstatic Com Images Q Tbn 3aand9gcrjkv0zdb Fllab Zje1q Dupmx8fkroyz8ferg 2qpyinzvgpy Usqp Cau
encrypted-tbn0.gstatic.com

Six Tips From A Lawyer In Case You Win The Powerball Lottery
floridajustice.com

Nm Lottery Scratcher Codes Exposed Lotto Edge
lottoedge.com

Cracking The Scratch Lottery Code Wired
www.wired.com

Https Encrypted Tbn0 Gstatic Com Images Q Tbn 3aand9gcraons9xp1rtknj6fp4nj0c1nr3ghlaywqv9b 744cq7vps2qu Usqp Cau
encrypted-tbn0.gstatic.com

Maryland Lottery Scratch Off Codes Lotto Edge
lottoedge.com

Mobile App Info
www.galottery.com

2nd Chance California State Lottery
www.calottery.com

Https Www Galottery Com Content Dam Portal Pdfs About Us Lotteryforeducationact 2013 Pdf

Maine Lottery Scratch Ticket Codes Revealed Lotto Edge
lottoedge.com

Special 3 Digit Code On All Scratch Ticket Lottery Numbers
www.lotterypost.com

Https Www Usg Edu Georgia Best User Docs Gamods7 2hopeudocfinal Pdf

Mobile App Info
www.galottery.com

Mobile App Info
www.galottery.com

What Are Lottery Scratch Off Ticket Scratch Codes Youtube
www.youtube.com

A Brief History Of North American State Lotteries
www.playmichiganlottery.com

The High Price Of A Free Georgia Lottery Ticket
www.ajc.com

Https Www Ohiolottery Com Assets Pdf Terminal Operations Manual

Colorado Lottery Frequently Asked Questions
www.coloradolottery.com

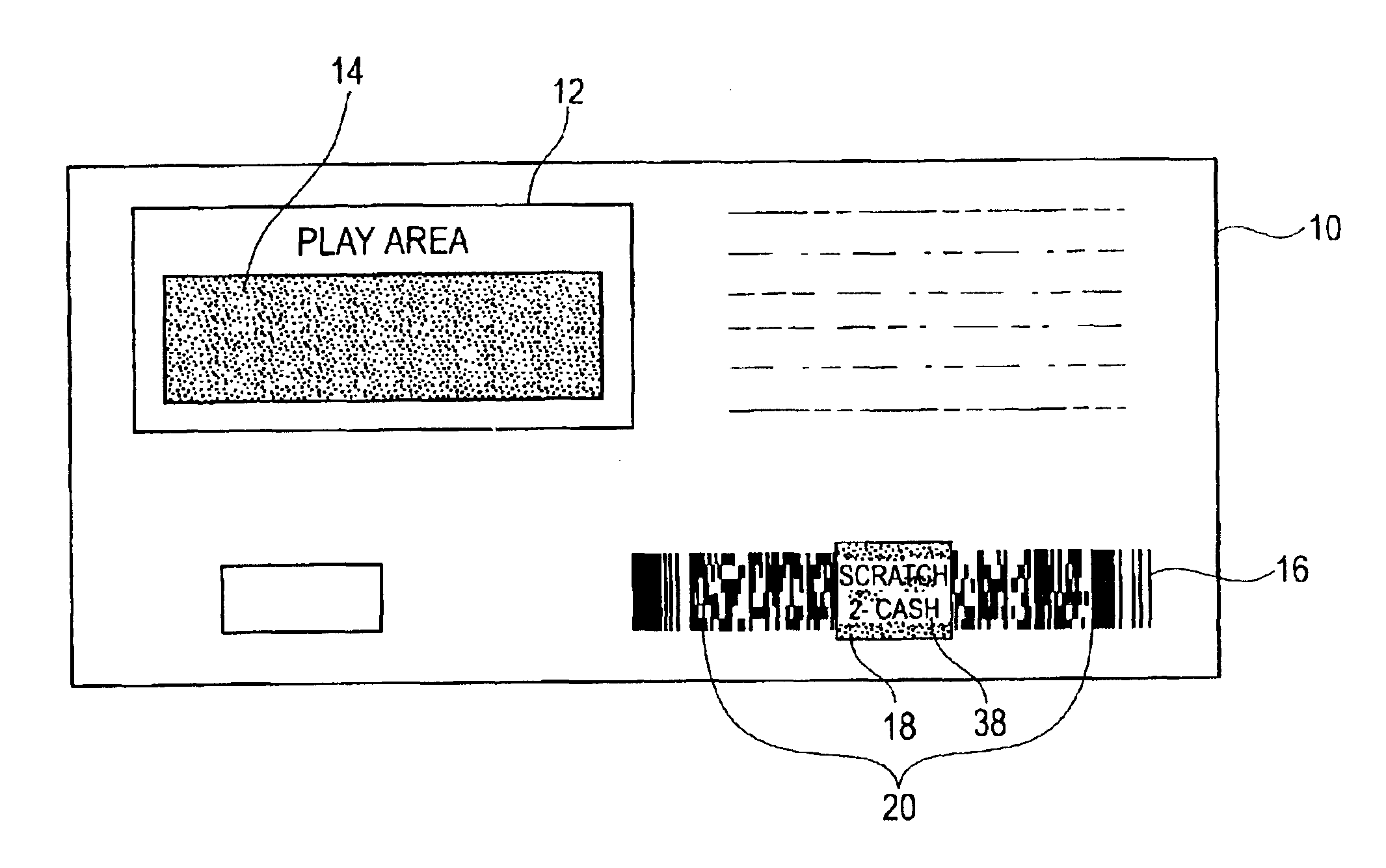
Scratch Off Lottery Ticket With Bar Code Patent 2196246
data.epo.org

Https Dc Statelibrary Sc Gov Bitstream Handle 10827 9549 Scel Instant Game 450 2011 1 Pdf Sequence 1 Isallowed Y

2nd Chance California State Lottery
www.calottery.com

2

Sc Lottery Scratch Off
tealman.ivorygroup.in

Itvm01 Lottery Ticket Terminal User Manual Scientific Games
fccid.io

2

Sc Lottery Scratch Off Codes
sigarche.com

Faqs
www.galottery.com

Cracking The Scratch Lottery Code Wired
www.wired.com

Rules New Mexico Lottery My Rewards
nm.secondchancebonuszone.com

Https Encrypted Tbn0 Gstatic Com Images Q Tbn 3aand9gcqolfxhbb7qrd8 Fn Sdxapmnrxzyxgicxooxfuihhdqdihde06 Usqp Cau
encrypted-tbn0.gstatic.com

Analytics For Us Patent No 6736324 Lottery Ticket Bar Code
www.patentbuddy.com

Frequently Asked Questions Arizona Lottery
www.arizonalottery.com

Mega Millions The Ohio Lottery
www.ohiolottery.com

Pennsylvania Lottery Wikipedia
en.wikipedia.org

Https Cdn Factcheck Org Uploadedfiles Lotteryforeducationga1 Pdf

Georgia Lottery Results Lotto Winning Numbers Tips And Lottery
alltechskills.net

Cracking The Scratch Lottery Code Wired
www.wired.com

Frequently Asked Questions Arizona Lottery
www.arizonalottery.com

Mobile App Info
www.galottery.com

5 Scratch Off Tickets Ga
abb.farmaciamonreale.it

20 000 Scratch Off Ticket Voided Due To This Error Youtube
www.youtube.com

Play Wild Time Lottery
fhoeweseleva.changeip.com

Https Encrypted Tbn0 Gstatic Com Images Q Tbn 3aand9gctivrvsjzpsl0i6ib Bfqr1rt4caf1how5hq238eqvpkajddtbq Usqp Cau
encrypted-tbn0.gstatic.com

Mobile App Info
www.galottery.com

Https Www Gacoam Com Api Documents Document Documentid 256

Https Www Galottery Com Content Dam Portal Pdfs Georgia Benefits 20190529 Lottery For Education Act 2019 Pdf

Ga 45 R R S Sc Education Lottery
www.yumpu.com

The Latest Updates On The Coronavirus In Ne Florida Se Georgia
www.firstcoastnews.com

Ga Lottery Home Run Jackpot Inning 680 The Fan Wcnn Am
www.680thefan.com

Mobile App Info
www.galottery.com

Help And Glossary New York Lottery
nylottery.ny.gov

Welcome To The New Nc Lottery
nclottery.com

Ga Lottery Denies Millions In Prizes To Winners Of Scratch Off Games
www.ajc.com

Second Chance
www.igt.com

Revealed Sd Lottery Scratch Ticket Codes Lotto Edge
lottoedge.com

Faqs
www.galottery.com

Colorado Lottery Frequently Asked Questions
www.coloradolottery.com

Ga Lottery Home Run Jackpot Inning 680 The Fan Wcnn Am
www.680thefan.com

Revealed Wv Lottery Scratch Off Codes Lotto Edge
lottoedge.com

Mobile App Info
www.galottery.com

2

2

Cracking The Scratch Lottery Code Abc News
abcnews.go.com

Ga 45 R R S Sc Education Lottery
www.yumpu.com

Second Chance
www.igt.com

Sc Lottery Scratch Off Codes
sigarche.com

Sc Lottery Scratch Off
tealman.ivorygroup.in

Intralot Qr Codes Their Use In The Lottery Industry La
lafleurs.com

Https Www Galottery Com Content Dam Portal Pdfs Player Zone 20200403 Winnerclaimform English Pdf

Revealed Montana Lottery Scratch Ticket Codes Lotto Edge
lottoedge.com

Https Www Usg Edu Georgia Best User Docs Gamods7 2hopeudocfinal Pdf

Georgia Lottery Scratch Off Codes Revealed Lotto Edge
lottoedge.com

Https Www Gabar Org Committeesprogramssections Programs Leg Upload 2012 Fall Acl Proposal Ucc Committee Attach To Proposal 209 Pgs Pdf

Immortal Cash Colorado Lottery
www.yumpu.com

Frequently Asked Questions Arizona Lottery
www.arizonalottery.com

Special 3 Digit Code On All Scratch Ticket Lottery Numbers
www.lotterypost.com

2020 01 09 Americus Ga Daily News News Break
www.newsbreak.com

Lottery Vending Machines Available At Select Retailers Louisiana
louisianalottery.com

Ga Lottery Home Run Jackpot Inning 680 The Fan Wcnn Am
www.680thefan.com

He Thought He Hit It Big On A Lottery Scratch Off Ticket But
www.fox6now.com

Https Dc Statelibrary Sc Gov Bitstream Handle 10827 9549 Scel Instant Game 450 2011 1 Pdf Sequence 1 Isallowed Y

Ohio Lottery Scratch Off Codes Lotto Edge
lottoedge.com

Does Lottery Vending Machines In Us Have All Types Of Lotteries To
www.lotteriesinusa.com

Lazlo Offers Lottery Tickets For Mobile Lifestyle Supports
lafleurs.com

close